Pena stylus untuk Galaxy Note 9 Samsung sudah mendapatkan upgrade yang sangat mumpuni dari Samsung dengan tambahan bluetooth. Sekarang muncul kabar bahwa orang di dalam perusahaan akan menambahkan kamera foto ke dalam pena tersebut.
Rencananya sebuah S-Pen akan dilengkapi perangkat pengambil gambar yang terintegrasi dengan ponsel. Hal ini memungkinkan kalian mengirim gambar secara nirkabel ke ponsel atau tablet. Konsep tersebut telah masuk dalam paten yang baru yang ditemukan oleh Patently Mobile.
Rencana kamera pena stylus (engadget.com)
Tapi kamera ini tidak hanya berupa kamera standar. Stylus yang diupgrade ini akan diuntungkan dengan pembesaran optik (zooming), sebuah fitur yang cenderung ditinggalkan sebagian besar smartphone agar menjaga kelangsingan bodi. Namun yang paling penting, Samsung juga harus memikirkan implikasi privasi: kemungkinan besar, orang tidak akan senang jika pengguna pena ini secara diam-diam mengambil gambar close-up mereka.
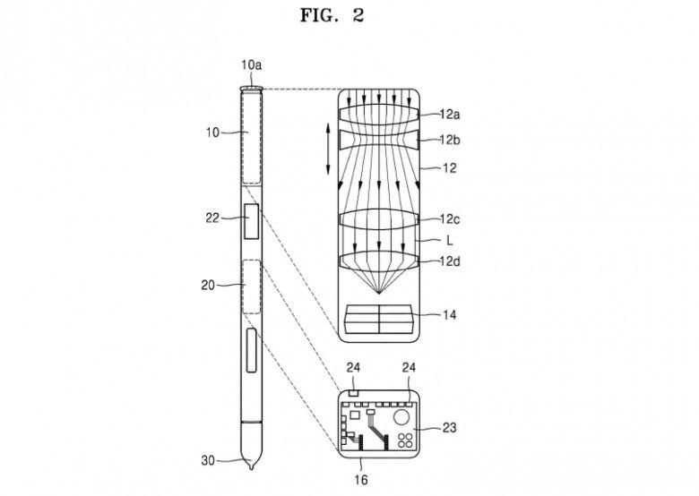
Menilai dari paten tersebut, Samsung bereksperimen dengan beberapa pengaturan dalam konsep ini. Dalam satu ilustrasi, lensa akan diletakkan di ruang bagian atas Pena S dengan tombol kontrol yang memungkinkan pengguna beralih zoom. Sketsa lain menunjukkan beberapa lensa kamera yang diposisikan di dalam stylus.
Stylus untuk Note 9 (wccftech.com)
S Pen yang saat ini, sudah dilengkapi dengan clicker yang memungkinkan pengguna mengambil gambar melalui Note 9. Tetapi versi masa depan ini dapat membebaskan seseorang untuk mengambil rentang pemotretan yang lebih besar dengan ponsel yang bertindak sebagai jendela bidik. Ya kalau ia nggak sekedar konsep dan diperuntukkan untuk dijual ke publik.
Desain ini bukan satu-satunya konsep stylus futuristik yang diketemukan. Tahun lalu, paten Apple mengungkapkan next-gen Pencil yang bisa menggambar di udara.
Baru-baru ini Microsoft juga merilis Classroom Pen yang lebih kecil untuk anak-anak dan Logitech's Crayon untuk iPad 2018.
